Назначение амперметра.
Амперметр — это электроизмерительный прибор, который предназначен для измерения силы электрического тока в каком-нибудь участке электрической цепи. Эта величина задается единицах, называемых амперами, отсюда и название прибора — «Амперметр». На практике значения электрического тока измеряются в различных диапазонах — от микроампер (мкА) до килоампер (кА).
Амперметр — это тот же гальванометр, только приспособленный для измерения силы тока, его шкала проградуирована в амперах.
На схемах амперметр изображают кружком с буквой А в центре.
Для измерения силы тока можно использовать и мультиметр. Перед измерением необходимо прочитать инструкцию к конкретной модели мультиметра, чтобы его правильно настроить и подключить в электрическую цепь.
Как работает амперметр?
Существует два типа амперметров: аналоговые, показывающие значение путем отклонения стрелки механического устройства, и все чаще использующиеся в настоящее время цифровые приборы, оснащенные сложными электронными схемами.
При изготовлении аналоговых амперметров необходимо использовать эффекты, зависящие от величины электрического тока. Чаще всего они связаны с созданием магнитного поля проводником, в котором течет электрический ток. Чем выше сила тока, тем больше эффект, производимый данным явлением.
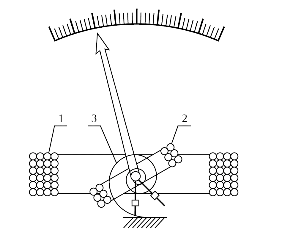
Каждый аналоговый амперметр имеет подвижную и неподвижную части. К подвижной части прикреплена стрелка, которая перемещается по шкале и позволяет считывать показания прибора. Чтобы избежать ошибок при снятии показаний, которые вызваны эффектом параллакса, следует смотреть на стрелку под прямым углом к шкале, чему способствует зеркало, расположенное рядом со шкалой (см. рисунок 1).

Типы амперметров их устройство и принцип работы
Каждый тип амперметра использует различные физические явления, связанные с протеканием электрического тока через проводник. Некоторые из них перечислены ниже.
Магнитоэлектрический амперметр
- На проводник с электрическим током, помещенный в магнитное поле, действует электродинамическая сила, величина которой зависит от абсолютной величины электрического тока, длины проводника и величины магнитной индукции.
Конструкция магнитоэлектрического амперметра, основанного на этом явлении, показана на рис. 2. Вращающаяся катушка, через которую протекает измеряемый электрический ток, отмечена красным цветом. Части катушки, перпендикулярные плоскости рисунка, используются в качестве проводника.
Магнитное поле создается постоянным магнитом, сформированным таким образом, чтобы поле было радиальным. Таким образом, каждый фрагмент взаимодействующего проводника всегда перпендикулярен вектору индукции магнитного поля, независимо от положения катушки с указателем.

Формула, описывающая силу магнитного взаимодействия, действующую на прямолинейный проводник с током, помещенным в магнитное поле, имеет вид: F = I * L * B (1), где:
- L — вектор вдоль проводника с величиной, равной его длине, и направлением — таким же как и направление протекания электрического тока;
- B — вектор индукции магнитного поля.
Согласно этой формуле, на токоведущие проводники перпендикулярно плоскости (см. рисунок 2) действует сила, направление которой перпендикулярно как этим проводникам, так и вектору индукции магнитного поля. Эта сила вызывает вращение катушки. Значение силы, согласно формуле (1), равно F = I * l * B * sin α (2), где:
где α — угол между направлениями вектора L и вектора индукции магнитного поля B. Как было сказано выше, этот угол всегда равен 900, если магнитное поле радиальное.
Пружина, обозначенная зеленым цветом на рисунке 2, противодействует вращению катушки таким образом, что устанавливается равновесное положение в зависимости от силы тока, значение которой можно определить по стрелке, расположенной над шкалой амперметра.
Таким образом, описанный амперметр показывает направление протекания электрического тока. Его можно использовать только для постоянного или однонаправленного тока. Такова, в частности, конструкция гальванометров.
Электродинамический амперметр
- Две катушки, по которым течет электрический ток, взаимодействуют друг с другом с помощью магнитного взаимодействия.
Электродинамический амперметр состоит из двух катушек — подвижной и неподвижной (см. рисунок 3).

Если через обе катушки протекает электрический ток, значение которого мы хотим измерить, магнитные поля будут взаимодействовать, вызывая отклонение подвижной катушки и прикрепленного к ней указателя (стрелки). Этот эффект не зависит от направления протекания электрического тока. Электродинамический амперметр может использоваться для измерения постоянного и переменного тока, включая быстро меняющийся ток. Это точные устройства, но дорогие. Чаще всего они используются в лабораториях в качестве эталонных измерительных приборов.
Индукционный амперметр
- В металлическом вращающемся диске вихревые токи индуцируются под воздействием магнитных полей, создаваемых катушками, в которых протекает переменный электрический ток.
Электрические токи I1 и I2 (см. рисунок 4), протекающие в катушках электромагнитов, создают пульсирующие магнитные потоки, которые вызывают вихревые токи в диске, помещенном в воздушный зазор электромагнитов.
Вихревые токи также создают магнитное поле, которое отталкивающе взаимодействует с полем катушки, заставляя диск вращаться.

Индуктивный амперметр можно использовать только для измерения переменного тока, т.к. постоянный ток не будет вызывать вихревые токи в диске. Этот тип конструкции в настоящее время используются только в качестве счетчиков электроэнергии.
Как пользоваться и подключать амперметр к цепи?
Для измерения силы тока в простейшей электрической цепи мы должны обязательно разорвать цепь в любом месте и в этот разрыв подключить прибор (см. рисунок 5). Такое подключение называют последовательным. То есть, например, для измерения силы тока в проводнике амперметр подключают последовательно с этим проводником — в этом случае через проводник и амперметр идёт одинаковый ток.

В цепи, состоящей из источника тока и ряда проводников, соединённых так, что конец одного проводника соединяется с началом другого, сила тока во всех участках одинакова. Это следует из того, что заряд, проходящий через любое поперечное сечение проводников цепи за 1 с, одинаков. Когда в электрической цепи существует ток, то заряд нигде в проводниках цепи не накапливается, подобно тому как нигде в отдельных частях трубы не собирается вода, когда она течёт по трубе. Поэтому при измерении силы тока амперметр можно включать в любое место цепи, состоящей из ряда последовательно соединённых проводников, так как сила тока во всех точках цепи одинакова. Если включить один амперметр в электрическую цепь до лампы, другой после неё, то оба они покажут одинаковую силу тока.
Внимание! Нельзя присоединять амперметр к зажимам источника без какого-либо приёмника тока, соединённого последовательно с амперметром. Можно испортить амперметр!
Для каждого амперметра существует верхний предел измерения (предельная сила тока), то есть по шкале амперметра видно, на какую наибольшую силу тока он рассчитан. Включение амперметра в электрическую цепь с большей силой тока недопустимо, так как он может выйти из строя.
При включении прибора необходимо соблюдать полярность, т. е. клемму прибора, отмеченную знаком «+», нужно подключать только к проводу, идущему от клеммы со знаком «+» источника тока. При правильном включении прибора электрический ток через амперметр должен идти от клеммы « + » к клемме « — » .
При включении в цепь амперметр, как всякий измерительный прибор, не должен влиять на измеряемую величину. Поэтому он устроен так, что при включении его в цепь сила тока в ней почти не изменяется. Как мы уже знаем, любые измерительные электроприборы обладают определенным электрическим сопротивлением. При включении последовательно в электрическую цепь амперметра его электрическое сопротивление добавляется к полному электрическому сопротивлению электрической цепи. Это вызывает нежелательное уменьшение силы тока. Чтобы этого не случилось, сопротивление амперметра должно быть мало. Идеальным был бы амперметр без сопротивления (R = 0), но на практике этого достичь невозможно.
Как увеличить диапазон измерения амперметра?
Чтобы измерение тока было как можно более точным, нам необходимо использовать соответствующий диапазон измерений. Попытка считывания значений в несколько мА, когда шкала перекрывает измерения до 100 А закончится тем, что мы даже не заметим отклонения стрелки амперметра.
Разработчики амперметров используют различные технические решения для того, чтобы иметь возможность измерять силу тока в различных диапазонах. В некоторых случаях мы можем сами изменить диапазон измерения прибора. Если мы добавим к нему дополнительный резистор (так называемый шунт), как показано на рис. 6, мы сможем измерять более высокие токи, не подвергая хрупкую структуру амперметра разрушению.

Предположим, что мы хотим увеличить диапазон измерения амперметра в n раз. Полный ток I, протекающий через устройство (рис. 6), тогда равен n*IA . Тогда уравнения первого и второго правил Кирхгофа будут следующими:
- n ⋅ IA = IA + IB
- IB ⋅ RB = IA ⋅ RA
Следовательно, сопротивление шунтирующего резистора можно будет рассчитать так:
RB = RA / (n-1)
По конструктивным соображениям шунтирующий резистор используется только для магнитоэлектрического амперметра.
Список использованной литературы
- Войнаровский П. Д.,. Электрические измерительные аппараты // Энциклопедический словарь Брокгауза и Ефрона : в 86 т. (82 т. и 4 доп.). — СПб., 1890—1907.
- Л.И. Байда, Н.С. Добротворский, Е.М. Душин и др. «Электрические измерения», М, «Энергия», 1980г.
- Перышкин А. В. Физика 8. – М.: Дрофа, 2010.
